Запчасти на Электрический погрузчик EP Equipment CPD20FJ5 Серия FJ

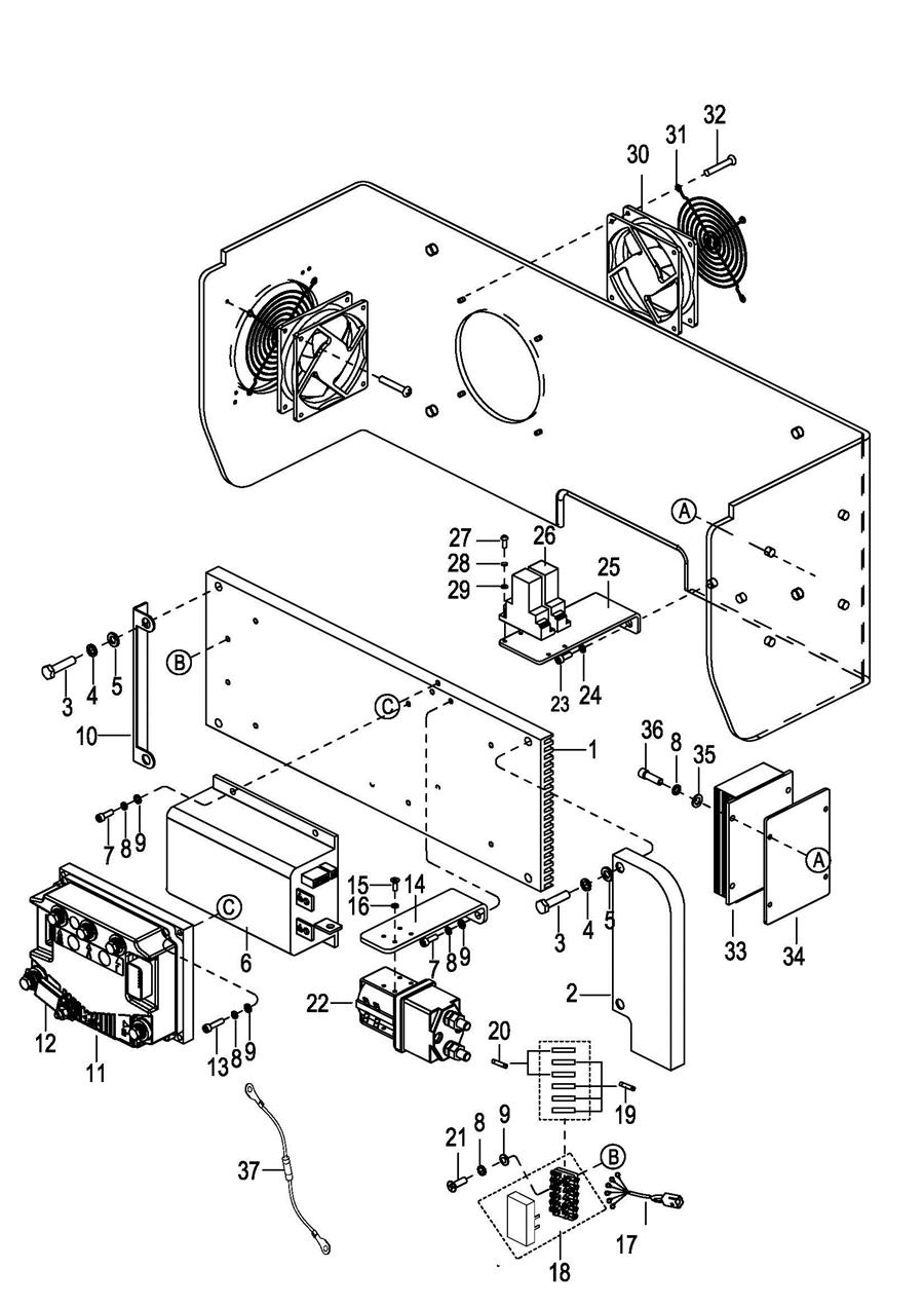
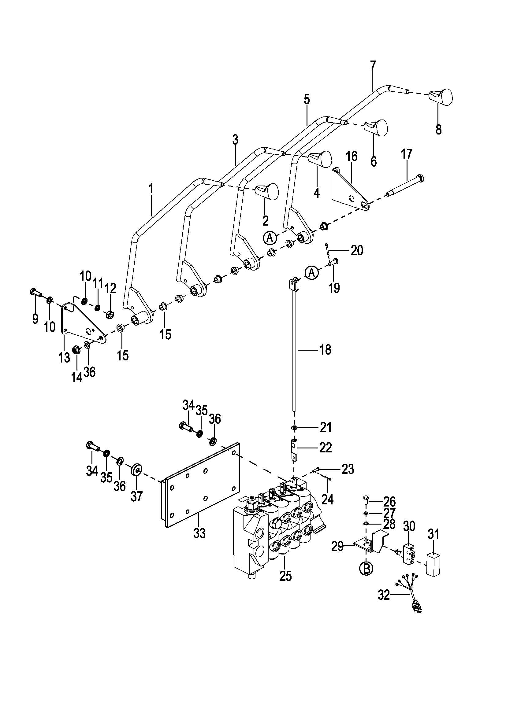
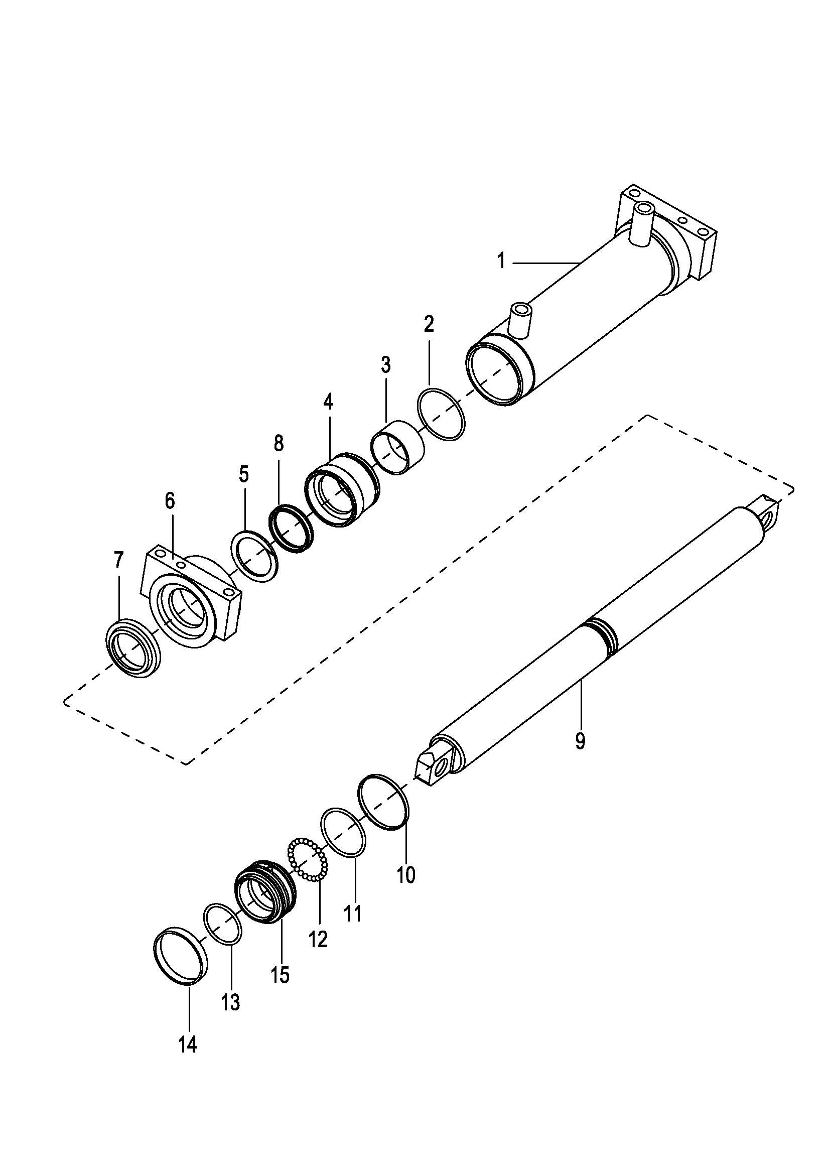
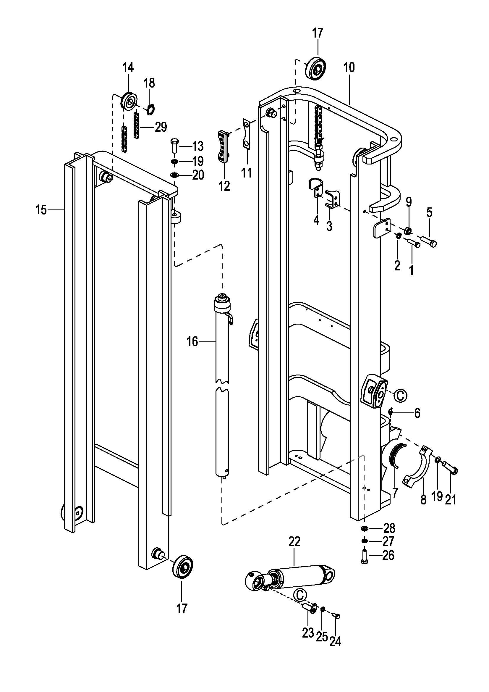
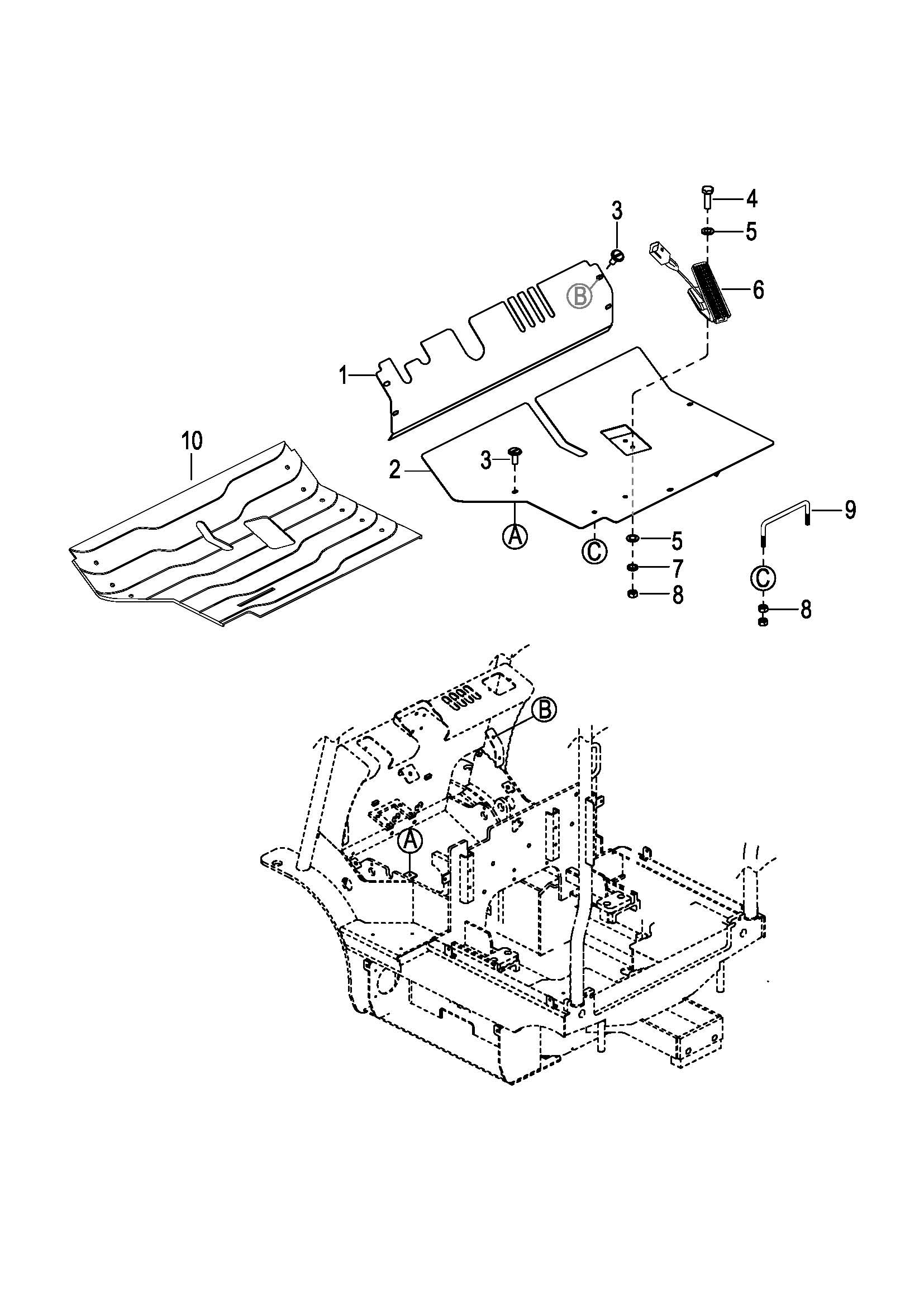
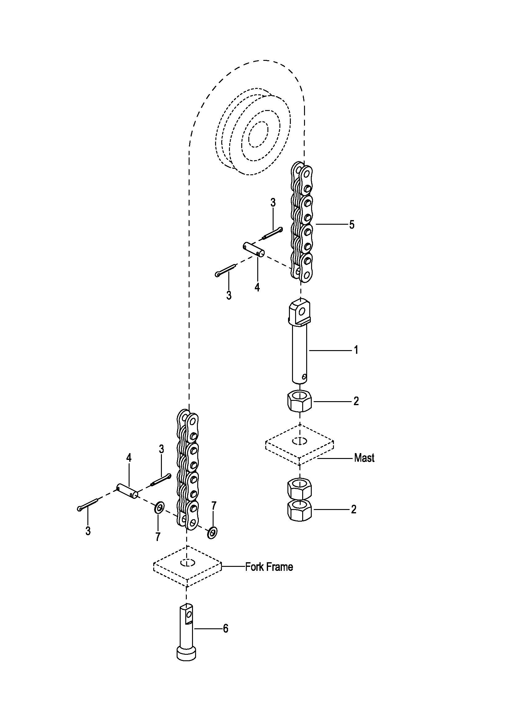
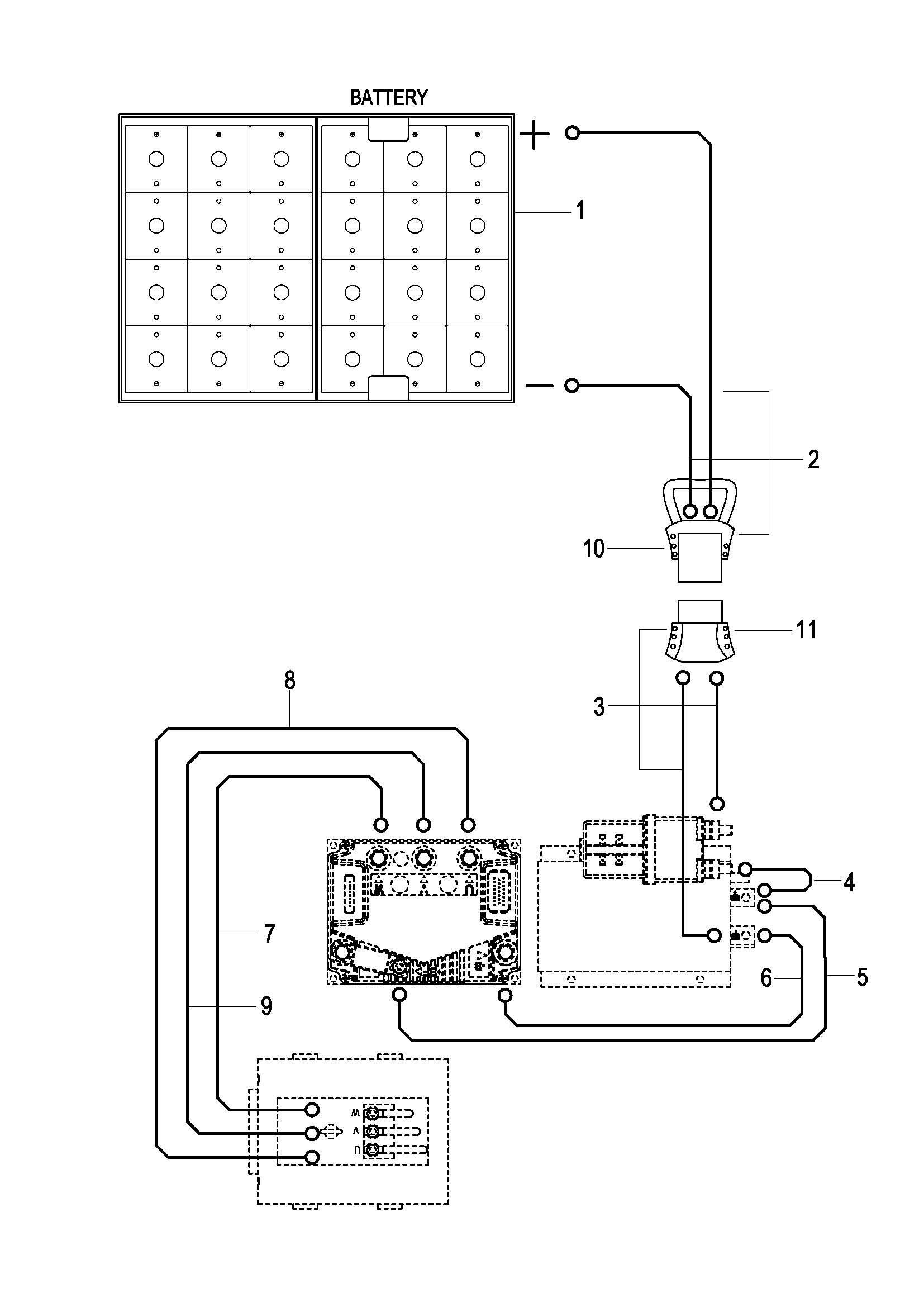
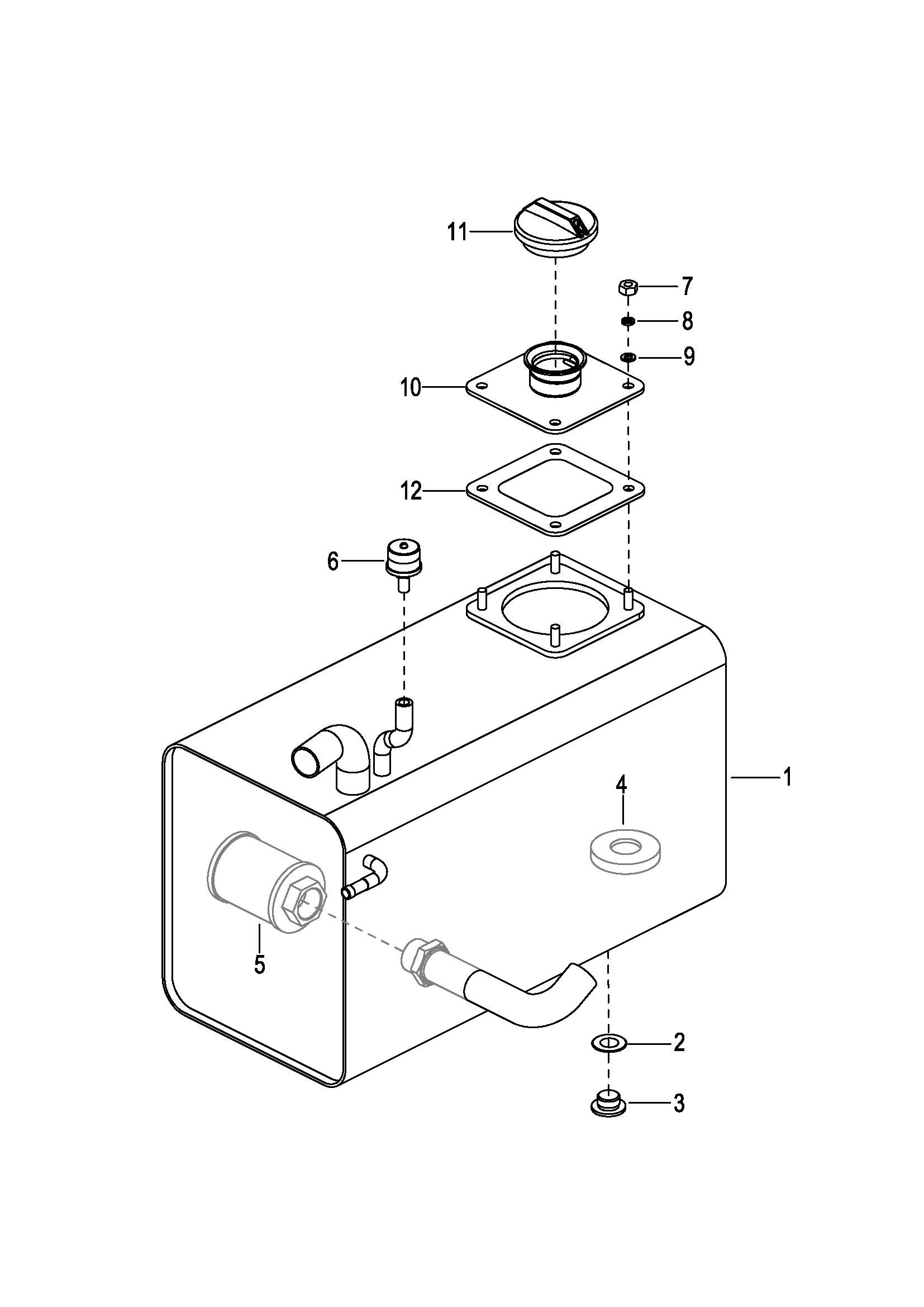
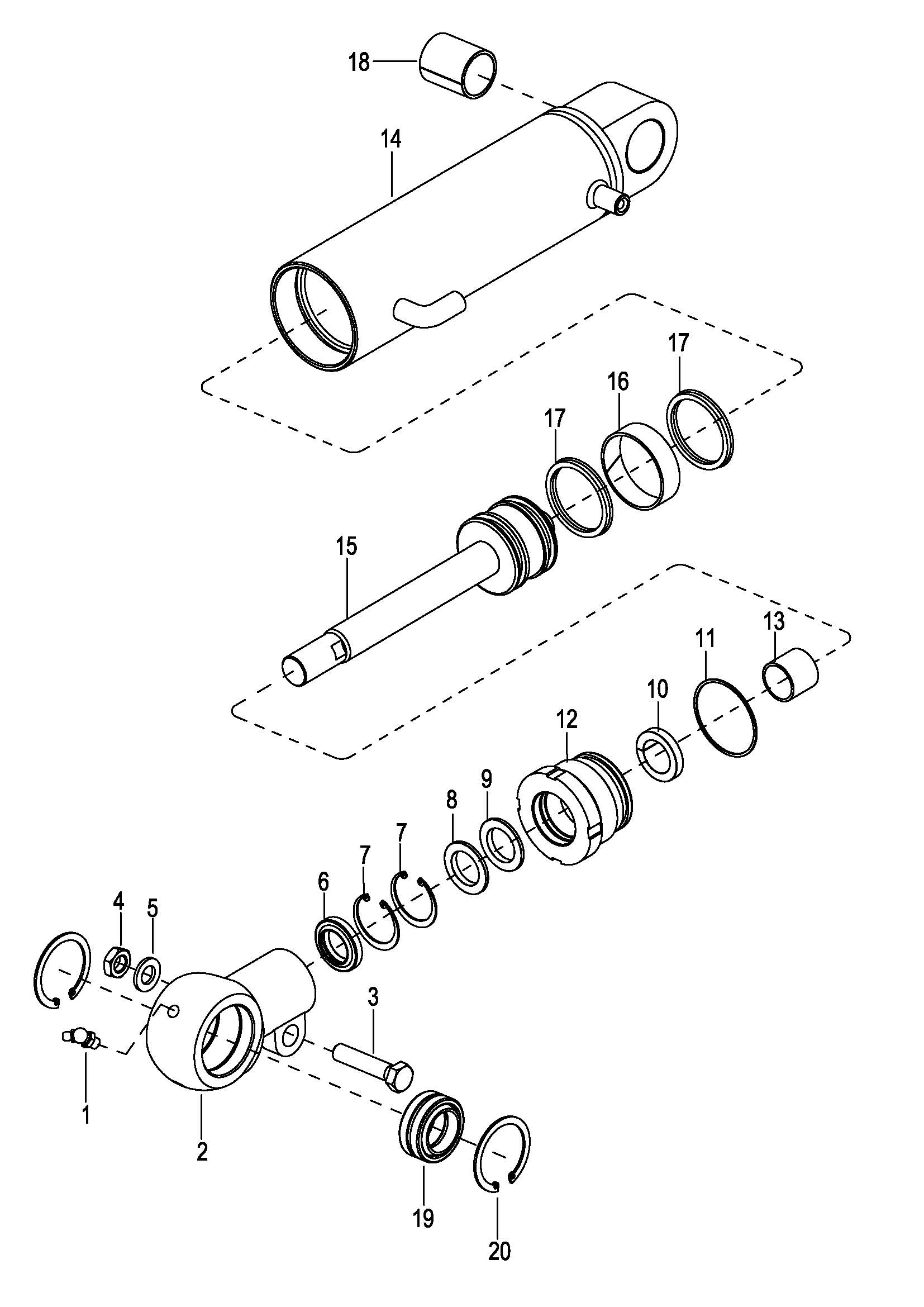
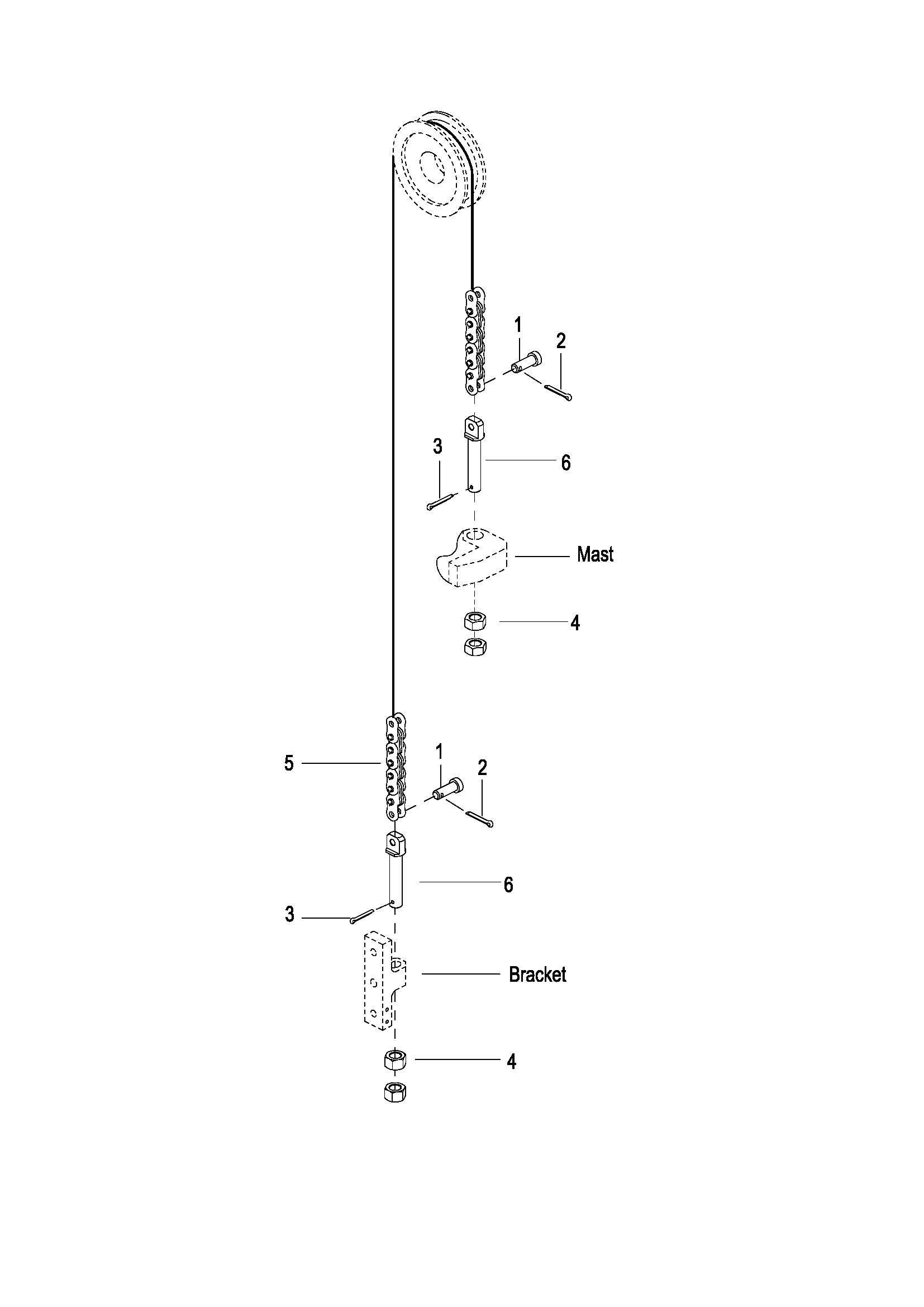
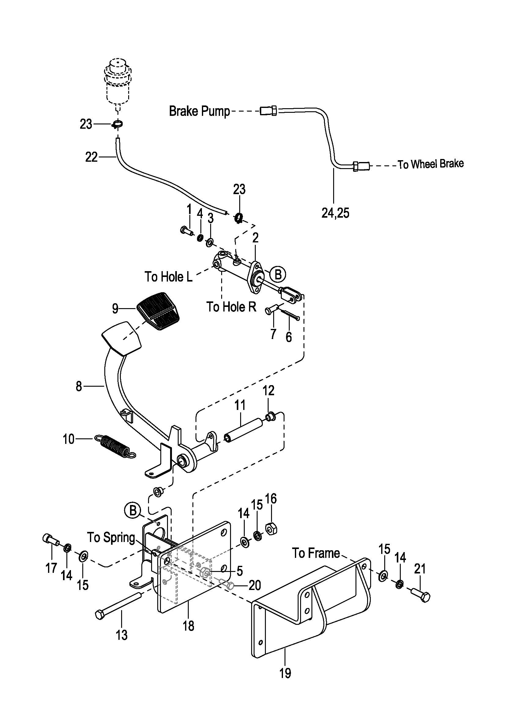
0101 Frame system 车身系统 0102 Overhead Guard Parts 安全棚组件 0103 Foreside Cover 前外罩 0104 Tail Cover 后外罩 0201 Operating Control System 操作系统 0202 Hand Brake Assembly 手刹总成 0203 Service Brake行车制动 0204 Steering Assembly 转向柱总成(S.N before -F2313034) 020401 Steering Assembly 转向柱总成(S.N after F2313035-) 0205 Valve Control Linkage 多路阀操作杆 0301 Driving System 驱动系统 0302 Drive Axle 驱动桥 0303 Wheel Brake 制动器 0304 Gear Box (Cancel) 变速箱 030401 Gear-box 变速箱 0305 Differential 差速器(Cancel) 0306 Front Tires Assembly 前轮装配总成 0401 Steering Axle System 转向桥系统 0402 Steering Axle 转向桥 0403 Steering Cylinder 转向油缸 0404 Back Tires Assembly 后轮装配总成 0501 Electrical Assembly 控制器装配总成 0502 Wiring Harness 线束 0503 Cable Assembly 电缆总成 0504 Battery box 电瓶箱 0601 Hydraulic System I 液压管路I 0602 Hydraulic System II 液压管路II 0603 Oil Tank 油箱 0701 Wide-View 2-Stage Mast Assembly 宽视野二级门架总成 0702 Oil Pipe 油管 0703 Lifting Cylinder 起升油缸 0704 Tilt Cylinder 倾斜油缸 0705 Fork Frame 货叉架 0706 Full free 3-Stage Mast Assembly 全自由三级门架总成 0707 Hose Assembly 油管总成 0708 Middle Lifting Cylinder 自由起升缸 0709 Lifting Cylinder 起升油缸 0710 Fork Frame 货叉架 0711 Full free 2-Stage Mast Assembly 全自由两级门架总成 0712 Hose Assembly 油管总成 0713 Lifting Cylinder-R 右升降油缸 0714 Lifting Cylinder-L 左升降油缸 0715 Fork Frame 货叉架 0716 Chain Assembly 链条总成 0717 Chain Assembly 链条总成