0101 LIFT SYSTEM INSTALLATION (3F)起升系统安装(三级全自由)
0102 MAST (3F)门架(三级全自由)
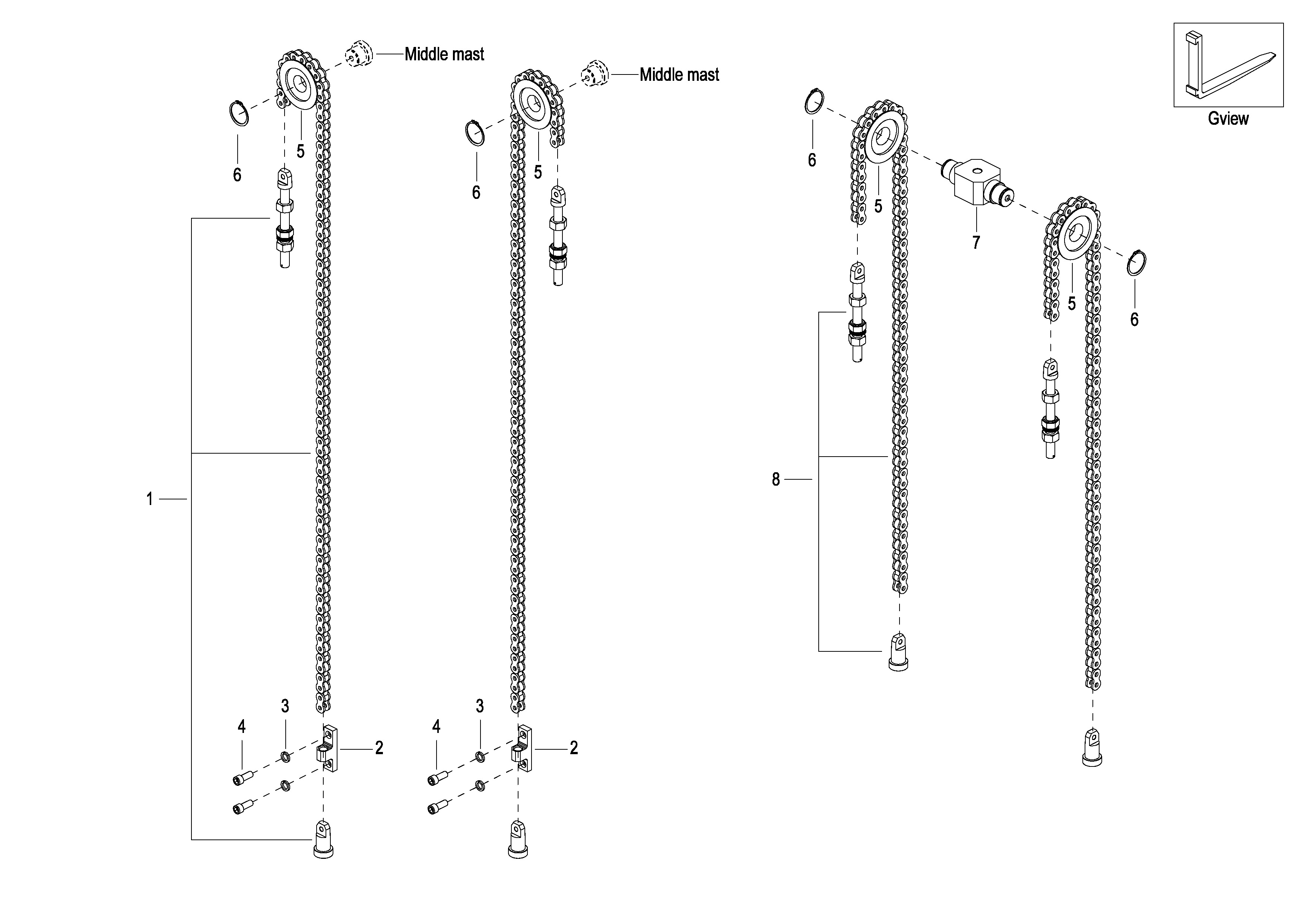
0103 CHAIN ASS’Y INSTALLATION (3F) 链条总成安装(三级全自由)
0104 LIFT CYLINDER INSTALLATION (3F) 起升油缸安装(三级全自由)
0105 LEFT&RIGHT LIFT CYLINDER (3F) 左右起升油缸(三级全自由)
0106 MIDDLE LIFT CYLINDER (3F) 中间起升油缸(三级全自由)
0107 HYDRAULIC SYSTEM OF LIFT SYSTEM (3F) 起升管路系统(三级全自由)
0108 HYDRAULIC SYSTEM OF THIRD PIPELINE (3F) 三联管路系统(三级全自由)
0109 HYDRAULIC SYSTEM OF FOURTH PIPELINE (3F) 四联管路系统(三级全自由)
0201 TILT CYLINDER 倾斜油缸
0202 FORK CARRIAGE 货叉架
0203 SIDE SHIFTER (OPTIONAL) 侧移器(选配)