0301 LIFT SYSTEM INSTALLATION (3F) 起升系统安装(三级全自由)
0302 MAST (3F) 门架(三级全自由)
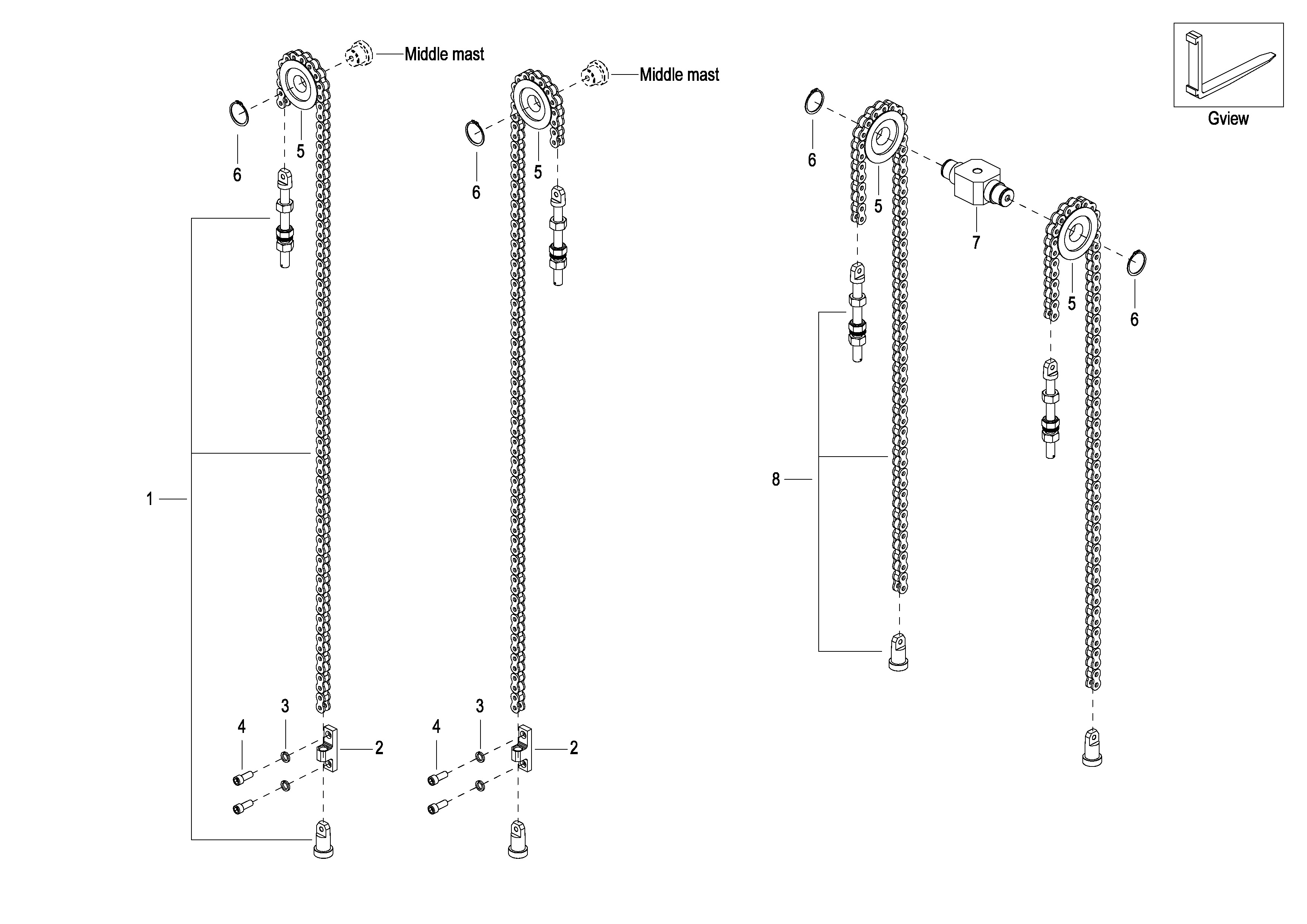
0303 CHAIN ASS’Y INSTALLATION (3F) 链条总成安装(三级全自由)
0304 LIFT CYLINDER INSTALLATION (3F) 起升油缸安装(三级全自由)
0305 LEFT&RIGHT LIFT CYLINDER (3F) 左右起升油缸(三级全自由)
0306 MIDDLE LIFT CYLINDER (3F) 中间起升油缸(三级全自由)
0307 HYDRAULIC SYSTEM OF LIFT SYSTEM (3F) 起升管路系统(三级全自由)
0308 HYDRAULIC SYSTEM OF THIRD PIPELINE (3F) 三联管路系统(三级全自由)
0309 HYDRAULIC SYSTEM OF FOURTH PIPELINE (3F) 四联管路系统(三级全自由)
0401 Tilting Cylinder 倾斜油缸
0402 Tilting Cylinder 倾斜油缸
0403 FORK CARRIAGE 货叉架
0404 SIDE SHIFTER (OPTIONAL) 侧移器(选配)