0101 Frame Assembly 车架总成
0102 Caster Assembly 万向轮
0103 Cover外罩
0201 Operating Control System 操作系统
0202 Control handle Assembly I操作手柄总成I
0203 Control handle AssemblyII操作手柄总成II
0204 Parking Brake脚制动
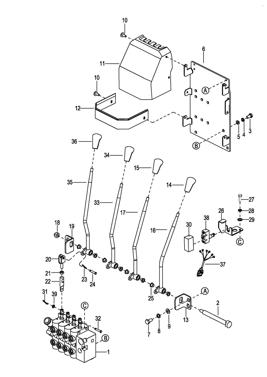
0205 Valve Control lever Linkage多路阀操作杆
0301 Driving System驱动系统
0302 Gear Case Assembly 减速箱总成
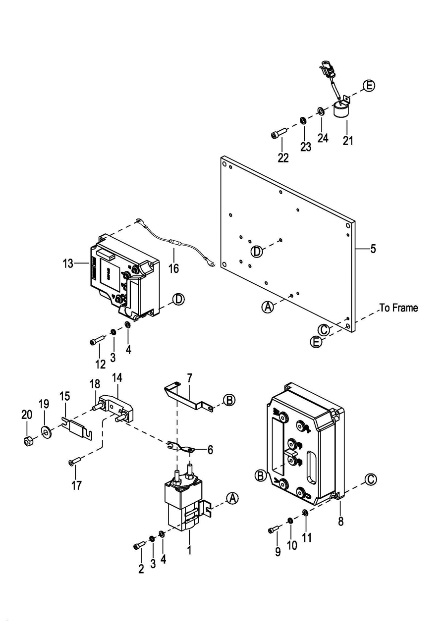
0401 Control Bracket Assembly控制器安装板总成
0402 Wiring Assembly 线束总成
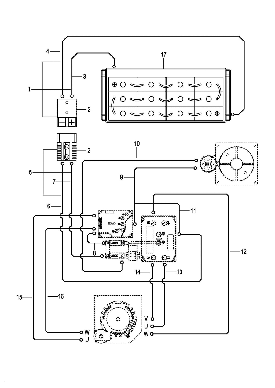
0403 Cable Assembly电缆总成
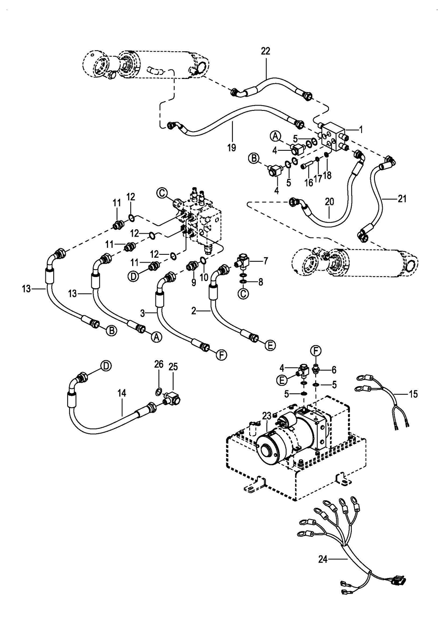
0501 Hydraulic System 液压管路
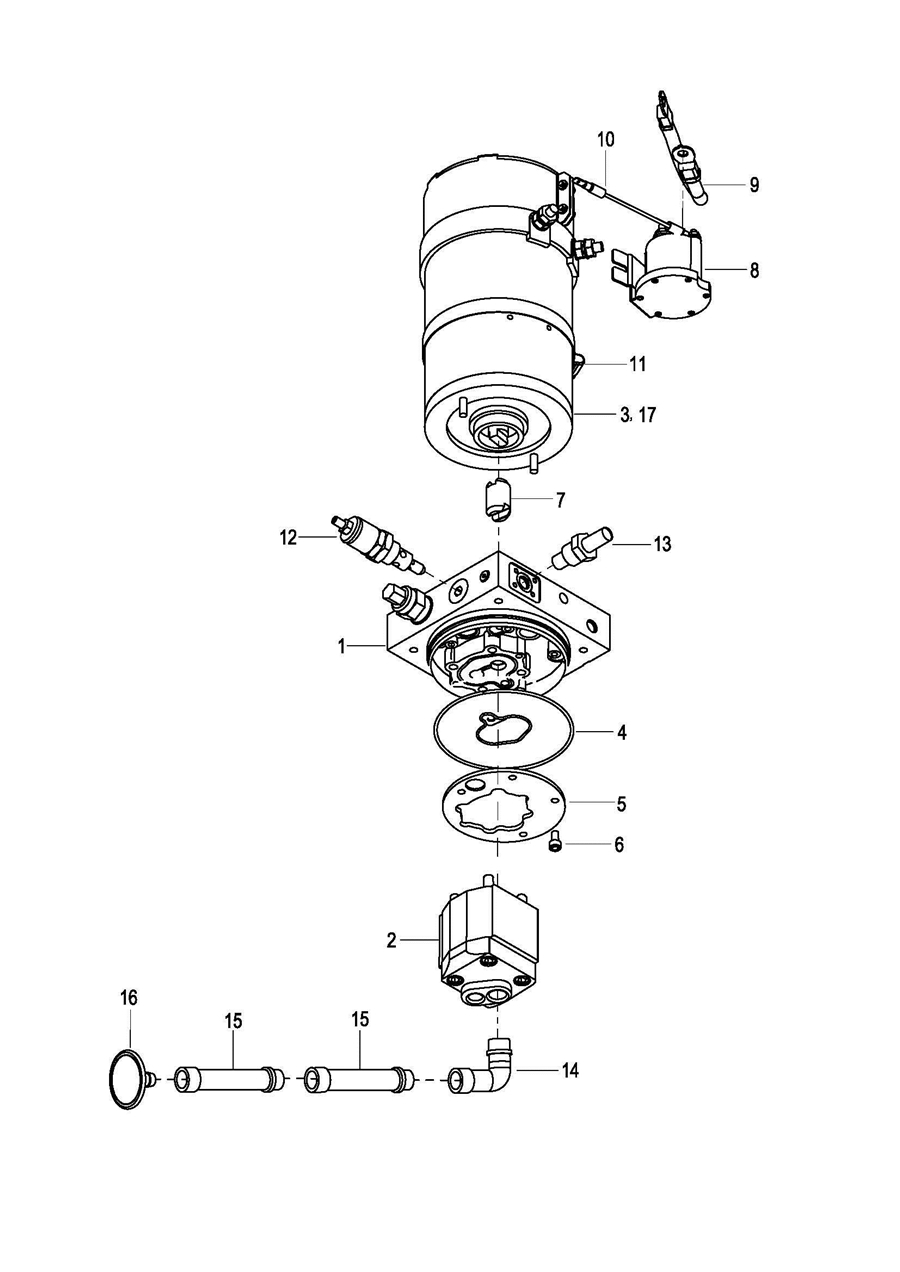
0502 Pump & Motor Assembly液压站
0503 Oil Tank油箱
0601 2-Stage Mast二级门架
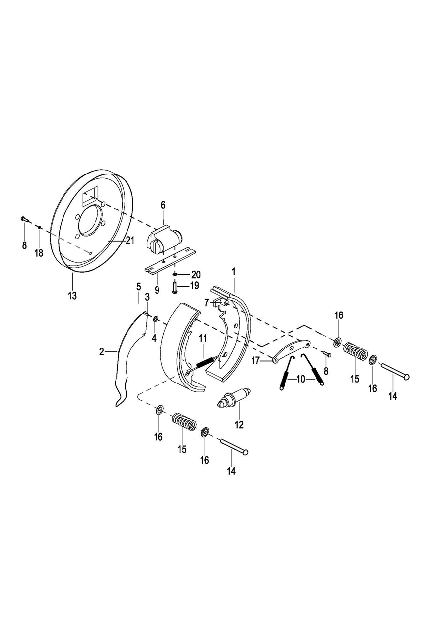
0602 Brake Assembly 制动器总成
0603 2-Stage Mast Assembly二级门架总成
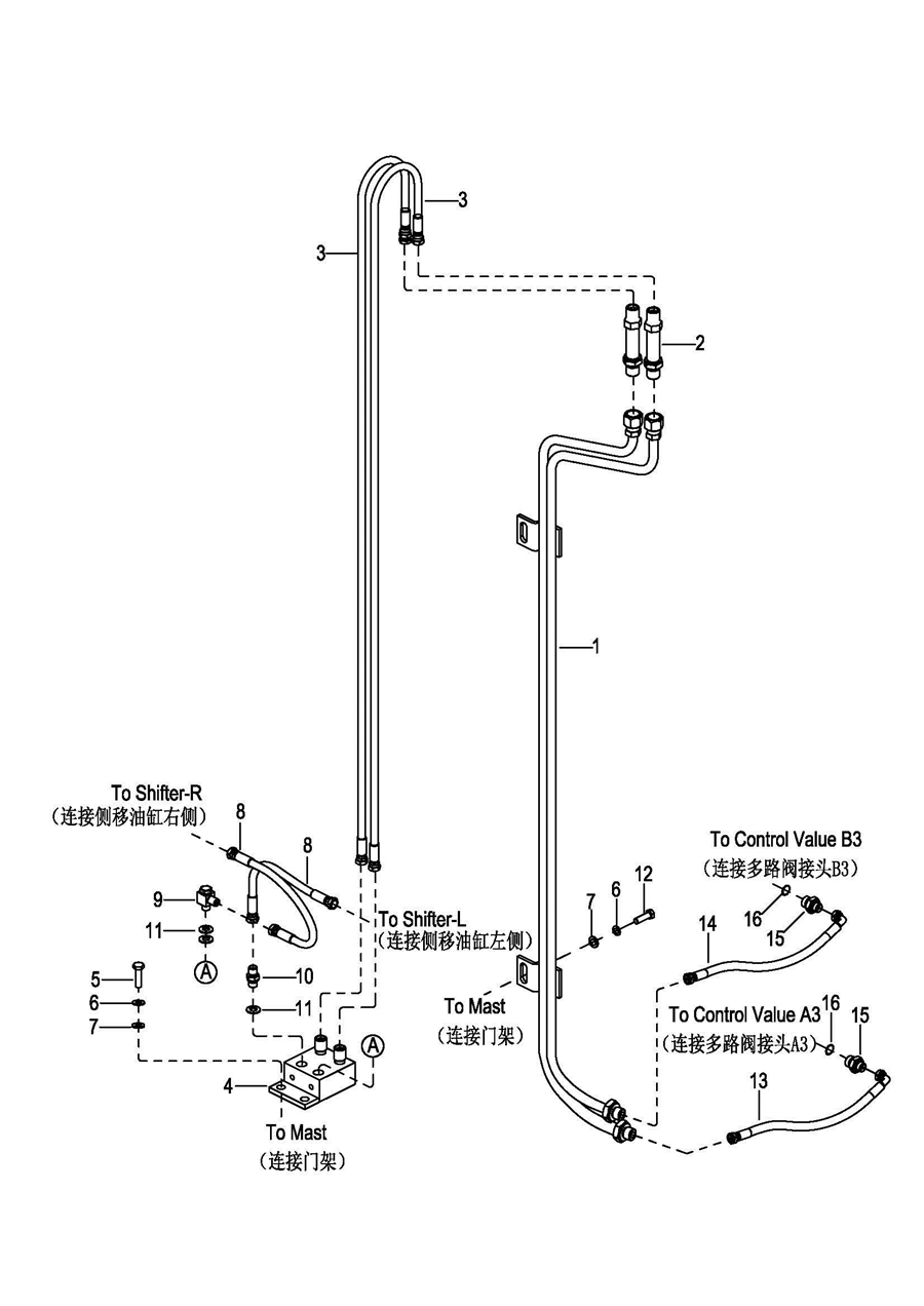
0604 2-Stage Mast Tubing Assembly 两级门架油管总成
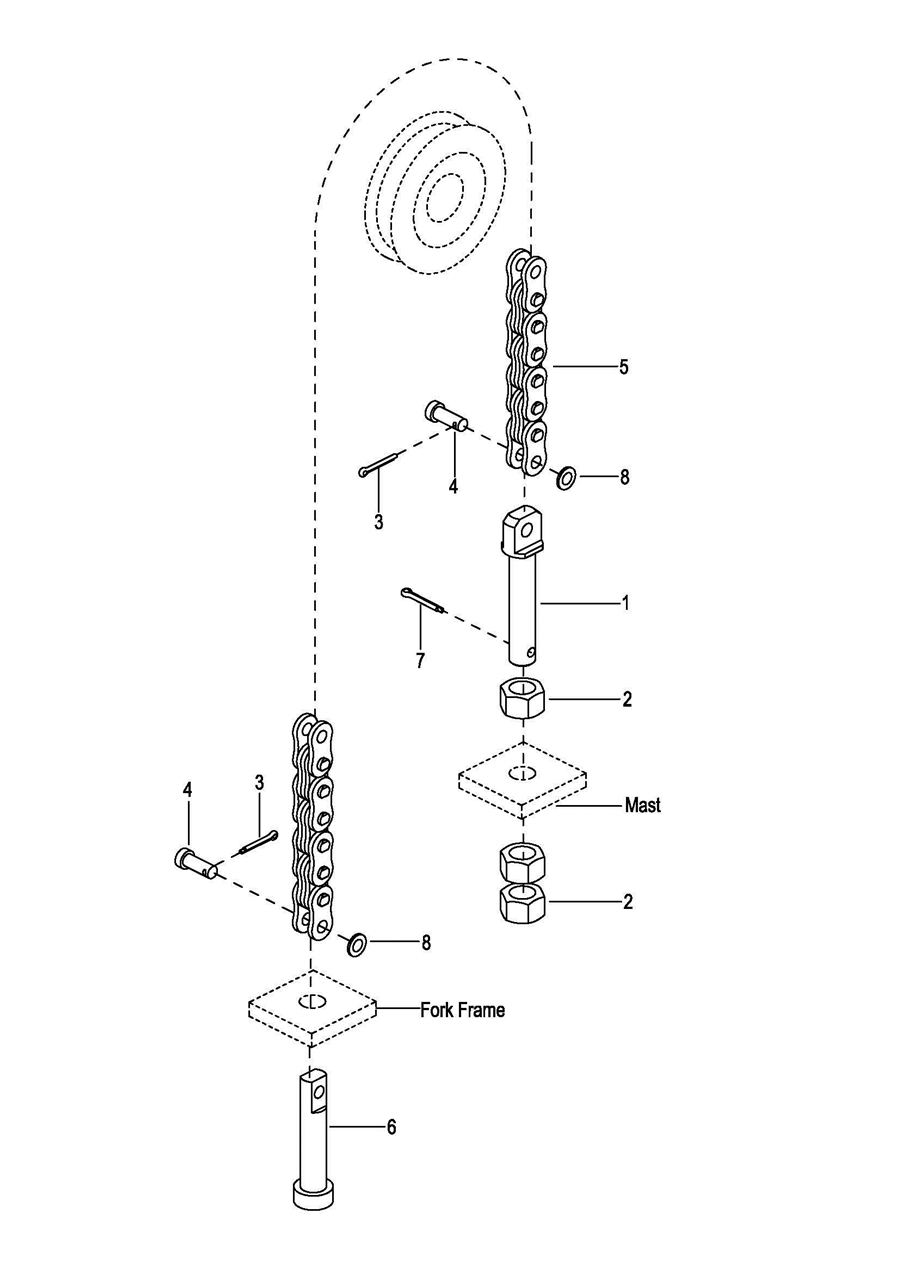
0605 Lifting Cylinder起升油缸
0606 Tilt Cylinder 倾斜油缸
0607 Fork Frame 货叉架
0608 Chain Assembly 链条总成