0101 Frame System 车身系统
0102 Overhead Guard 安全棚
0103 Front Cover 前外罩
0104 Back Cover 后外罩
0201 Steering Control System 操作系统
0202 Parking Brake 脚刹总成
0203 Steering Assembly 转向柱总成
0204 Valve Control Linkage 多路阀操作杆
0301 Drive System 驱动系统
0302 Drive Axle Assembly(For EFX4-301/EFL302X4/EFX4-351/EFL352X4) 驱动桥总成
0303 Drive Axle Assembly(ForEFX4-251/EFL252X4) 驱动桥总成
0304 Brake Assembly(For EFX4-301/EFL302X4/EFX4-351/EFL352X4) 制动器总成
0305 Brake Assembly(ForEFX4-251/EFL252X4) 制动器总成
0306 Gearbox Assembly 减速箱总成
0307 Differential 差速器
0308 Drive Wheel - Single Tire 驱动轮-单胎
0401 Steering System 转向系统
0402 Steering Axle(For EFX4-301/EFL302X4/EFX4-351/EFL352X4) 转向桥
0403 Steering Axle(For EFX4-251/EFL252X4) 转向桥
0404 Steering Cylinder(For EFX4-301/EFL302X4/EFX4-351/EFL352X4) 转向油缸
0405 Steering Cylinder(For EFX4-251/EFL252X4) 转向油缸
0501 Electrical Components 电器元件
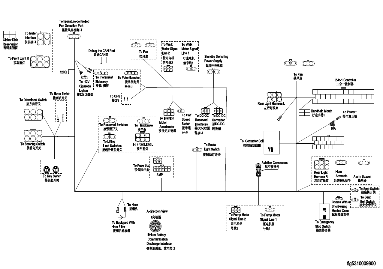
0502 Wiring Harness Assembly 线束总成
0503 Cable 电缆总成
0504 Battery Assembly 电瓶总成
0601 Hydraulic SystemⅠ 液压管路Ⅰ
0602 Hydraulic SystemⅡ 液压管路Ⅱ
0603 Oil Tank 油箱
0604 Tilt Cylinder 倾斜油缸
0605 Tilt Cylinder 倾斜油缸